• 1. Подвижной состав
  • 2. Изготовление моделей подвижного состава
  • Глава VIII

    МОДЕЛИ ПОДВИЖНОГО СОСТАВА

    1. Подвижной состав

    Подвижной состав железных дорог состоит из локомотивов, вагонов, моторвагонных поездов и моторных вагонов. Локомотивы и моторвагонные поезда представляют собой тяговый подвижной состав. В зависимости от типа силовой установки локомотивы разделяют на электровозы, тепловозы, газотурбовозы, паровозы, а моторвагонные поезда — на электро- и дизель-поезда. По роду выполняемой работы локомотивы подразделяют на пассажирские, грузовые и маневровые; моторвагонные поезда используют для пассажирских перевозок. Оборудование электровозов и тепловозов может быть размещено в одном или нескольких кузовах (секциях), поэтому существуют одно-, двух-, трёх- и четырёхсекционные локомотивы. В зависимости от количества и расположения движущих и поддерживающих осей ходовой части локомотивы классифицируют по осевым характеристикам — типам. каждому вновь построенному типу локомотива или моторвагонного поезда присваивают наименование или, как принято говорить, «серию».

    Электровоз (рис. 157) представляет собой локомотив, работающий при помощи электрической энергии, подводимой к нему от тяговых подстанций по контактным проводам, подвешенным вдоль железнодорожных путей. Получаемая электрическая энергия в тяговых двигателях преобразуется в механическую, которая приводит электровоз в движение. На наших железных дорогах работают электровозы постоянного тока напряжением 3000 В и переменного тока напряжением 25 000 В. Электровоз состоит из кузова, экипажной части и электрооборудования. Кузов электровоза служит для размещения электрического оборудования и вспомогательных машин. По концам кузова односекционного электровоза расположены кабины управления, на двухсекционных электровозах предусматривается по одной кабине в голове секции. На крыше кузова смонтированы токоприёмники, высоковольтное оборудование, воздушные резервуары. Кузов опирается на экипажную часть, состоящую из двух двухосных или трёхосных тележек с рессорным подвешиванием и тормозным оборудованием. На тележках установлены тяговые электродвигатели. Электровозы имеют высокие экономические показатели и ряд технических преимуществ по сравнению с другими видами локомотивов — прежде всего это высокая надёжность и возможность сосредоточить большую мощность в одном электровозе. В настоящее время на железных дорогах СССР электровозами выполняется основной объём перевозок. Электровозы отечественного производства обозначают буквами ВЛ, в честь В. И. Ленина, за буквами следует нумерация серии: для электровозов постоянного тока от ВЛ8 до ВЛ39, переменного тока — от ВЛ40 до ВЛ99. Кроме того, на железных дорогах СССР работают пассажирские электровозы чехословацкого производства, серии которых обозначены буквами ЧС.

    Рис. 157. Двухсекционный грузовой электровоз переменного тока ВЛ80т :

    1 — кабина управления; 2 — прожектор; 3 — тифон (звуковой сигнал); 4 — токоприёмник; 5 — жалюзи забора воздуха; 6 — кузов; 7 — токоведущая шина; 8 — главные воздушные резервуары; 9 — межсекционный переход; 10 — тележка

    Тепловоз — это локомотив, источником энергии которого является двигатель внутреннего сгорания — дизель. Tак как дизельный двигатель без промежуточной передачи между ним и колёсами тепловоза не может обеспечить трогание поезда c места, тепловозы оборудуют электрической, гидравлической или механической передачей. Большинство отечественных магистральных тепловозов оборудованы электрической передачей, при которой дизель приводит в действие генератор, вырабатываемый генератором электрический ток поступает к тяговым электродвигателям, приводящим тепловоз в движение. Оборудование тепловоза — дизель, генератор, система охлаждения и вспомогятельные машины размещаются в кузове тепловоза.

    В кузове тепловоза также расположены одна или две кабины управления. В трёх- и четырёхсекционных тепловозах средние секции не имеют кабин управления. Экипажная часть магистральных тепловозов состоит из двух трёхосных или двухосных тележек с рессорным подвешиванием, тормозным оборудованием и тяговыми электродвигателями при электрической передаче. Будучи автономным локомотивом, тепловоз не зависит от посторонних источников энергии и может проходить большие расстояния без пополнения запасов топлива. В соответствии с планами реконструкции железнодорожного транспорта СССР тепловозняя тяга внедрена взамен паровой на направлениях менее грузонапряжённых в сравнении с электрической тягой, преимущественно на однопутных линиях.

    Новым тепловозам отечественного производства присваивают буквенно-цифровые обозначения серии, в которых первая буква Т обозначает тип локомотива — тепловоз; вторая — вид передачи: Э — электрическая, Г — гидравлическая; третья буква серии указывает род службы тепловоза: П — пассажирский, М — маневровый; следующая за буквенным индексом цифра обозначает вариант конструкторской разработки.

    Паровоз (рис. 158) — это локомотив, оборудованный паросиловой установкой; его работа основана на преобразовании тепловой энергии пара в механическую. Паровоз состоит из котла, паровой машины с движущим механизмом и экипажа. Запас воды и топлива размещают на прицепляемом к паровозу тендере или на самом паровозе. Приготовленный в котле пар поступает в цилиндры паровой машины и приводит в движение поршни. Движущий механизм преобразует поступательное движение поршней во вращательное движение ведущих и сцепных колёс паровоза. Экипаж конструктивно связывает котёл и машину в одно целое и состоит из рамы с рессорным подвешиванием, движущих, бегунковых и поддерживаюших колёсных пар. Органы управления паровозом сосредоточены в будке, служащей помещением для паровозной бригады. С момента создания железной дороги паровозы около полутора столетий являлись основным видом локомотива, уступив лишь в середине XX века место более мощным и экономичным электровозам и тепловозам. В нашей стране постройка магистральных паровозов прекратилась в 1956 г. В настояшее время небольшое количесто паровозов продолжают выполнять маневровую и вспомогательную работу на малодеятельных линиях и подъездных путях предприятий. Паровозам отечественной постройки присваивались буквенные и буквенно-цифровые обозначения серий в честь выдающихся государственных деятелей, например, СО17 (Серго Орджоникидзе, 17 — нагрузка на движущую ось в тоннах), ФД20 (Феликс Дзержинский); главных конструкторов паровозов — Л (Лебедянский); заводов-изготовителей — Б (Брянский), С (Сормовский), а также порядковые буквы русского алфавита — А, В, Г и др.

    Рис. 158. Пассажирский паровоз типа 1-3-0 серии Нв:

    1 — будка машиниста; 2 — свисток; 3 — предохранительный клапан; 4 — топка; 5 — котёл; 6 — песочница; 7 — площадка; 8 — сухопарник; 9 — дымовая труба; 10 — американский фонарь; 11 — дымовая коробка; 12 — ограждение площадки; 13 — буфер; 14 — бегунковая колёсная пара; 15 — цилиндр; 16 — ведущая колёсная пара; 17 — движущий и парораспределительный механизм; 18 — паровоздушный насос; 19 — стяжной ящик; 20 — буферный фонарь; 21 — буферный брус; 22 — инструментальный ящик; 23 — водяной бак тендера; 24 — рама тендера; 25 — водоналивиая горловина; 26 — угольный ящик; 27 — ручной тормоз

    В настоящее время на сети железных дорог вводят новое цифровое обозначение серий тягового подвижного состава. Старые, буквенно-цифpовые обозначения серий сохраняют на лобовых стенках и буферном брусе локомотивов и моторвагонных поездов.

    Кроме рассмотренных выше локомотивов, существуют газотурбовозы — локомотивы, имеющие в качестве силовой установки турбину. Эксплуатация газотурбовозов носит опытный характер.

    Моторвагонные поезда предназначены для перевозок пассажиров в пригородном, межобластном и местном сообщениях. На электрифицированных линиях используют электропоезда, а на участках, обслуживаемых тепловозной тягой, — дизель-поезда.

    Электропоезда как правило состоят из моторных вагонов, на которых установлены тяговые электродвигатели и электрическая аппаратура, и прицепных вагонов, где смонтирована часть вспомогательного оборудования, необходимого для совместной работы с моторным вагоном. Силовое оборудование вагонов электропоезда установлено под полом пассажирского помещения и на крыше. Вагоны электропоездов формируют в секции, крайние вагоны секций — головные, имеют кабины управления.

    Дизель-поезда формируются также из моторных и прицепных вагонов, но в моторных вагонах, как правило головных, за кабиной машиниста расположено машинное отделение, где установлен дизель и передача — электрическая, гидравлическая или механическая. Вагоны электро- и дизель-поездов — цельнометаллической конструкции, каждый вагон опирается на две тележки.

    На линиях с небольшими пассажиропотоками, а также для служебных целей используют автомотрисы. Автомотриса представляет собой оборудованный двигателем внутреннего сгорания моторный вагон с пассажирским помещением.

    Вагоном называется единица подвижного состава, предназначенная для перевозки пассажиров или гpузов. В зависимости от назначения вагоны подразделяют на грузовые и пассажирские. Каждый вагон имеет ходовые части, раму, кузов и тормозное оборудование. По конструкции ходовых частей вагоны подразделяют на двух-, трёх-, четырёх-, шести- и восьмиосные. У двух- и трёхосных вагонов ходовая часть состоит из колёсных пар с буксами, их направляющих и рессорного подвешивания. Ходовая часть четырёх-, шести- и восьмиосных вагонов состоит из двухосных или трёхосных тележек.

    Кузова вагонов имеют различную конструкцию в соответствии с их назначением.

    Пассажирский парк (рис. 159) составляют вагоны для перевозки пассажиров, почтовые, багажные, вагоны-рестораны и специальные (служебные, вагоны-лаборатории, вагоны-клубы, санитарные и др.). В соответствии с назначением и дальностью перевозок пассажирские вагоны разделяют на вагоны поездов дальнего следования — купейные и некупейные, пригородного и межобластного сообщения. Эти вагоны различаются внутренней планировкой и степенью удобств для пассажиров. С момента создания конструкция пассажирских вагонов претерпела значительные изменения, ранее строились двух-, трёх- и четырёхосные вагоны с деревянными кузовами, в настоящее время на сети железных дорог СССР эксплуатируются только четырёхосные цельнометаллические пассажирские вагоны (ЦMB).

    Рис. 159. Вагоны пассажирского парка:

    а — двухосный дальнего следования; б — четырёхосный спальный прямого сообщения (СВПС); в — четырёхосный цельнометаллический купейный (ЦМВ); г — трёхосный багажный; д — четырёхосный почтовый с деревянным кузовом

    Грузовой парк (рис. 160) включает крытые вагоны, полувагоны, хопперы, платформы, цистерны, вагоны изотермические и специального назначения. В прошлом строились преимущественно двухосные грузовые вагоны с деревяннымы кузовами, наибольшая грузоподъёмность вагона составляла всего 16 т. В годы первых пятилеток грузовой парк значительно обновился за счёт поступления на железные дороги новых четырёхосных вагонов. С середины 60-х годов эксплуатация двухосных вагонов прекращена и грузовой парк железных дорог СССР состоит из четырёхосных и большегрузных шести- и восьмиосных вагонов подъёмной силой до 120 т. Последние годы грузовые вагоны строят преимущественно с металлическими сварными кузовами.

    Рис. 160. Вагоны грузового парка:

    а — четырёхосныи крытый с металлическим кузовом; б — шестиосный полувагон с металлическим кузовом; в — четырёхосный хоппер для перевозки цемента: г — четырёхосная платформа грузонодъемностью 50 т; д — двухосная цистерна Русских казенных железных дорог; е — четырёхосный изотермический вагон-ледник

    Крытые вагоны предназначены для перевозки грузов, требуюших защиты от атмосферных осадков. Они имеют крытый кузов, оборудованный люками и задвижными дверями.

    Полувагоны используют для перевозки самых разнообразных грузов — угля, руды, песка, лесоматериалов, различного оборудования, машин и др. Полувагоны имеют открытый кузов, обеспечивающий удобство погрузки и выгрузки, а в полу — люки для разгрузки сыпучих материалов.

    Разновидностью полувагонов являются хопперы — саморазгружающиеся вагоны для перевозки сыпучих грузов.

    Открытые хопперы применяются для перевозки щебня, песка и др., в закрытых хопперах перевозят цемент и зерно.

    Платформы служат для перевозки длинномерных и громоздких гpузов, металлопроката, леса, контейнеров, автомобилей, строительной в сельскохозяйственной техники. Кузов платформы состоит из настила пола и откидных бортов.

    Цистерна представляет собой грузовой вагон, кузовом которого является цилиндрический котёл с колпаком в верхней части. В цистернах перевозят жидкие и газообразные грузы (нефть, бензин, кислоту, молоко, газ и др.).

    Изотермические вагоны служат для перевозки скоропортящихся грузов: кузова их имеют тепловую изоляцию и оборудованы для охлаждения. По способу охлаждения изотермические вагоны различают на вагоны-ледники и выгоны с машинным охлаждением. Последние бывают в виде отдельных автономных вагонов или рефрижераторных поездов.

    Всё большее значение в парке грузовых вагонов приобретают вагоны специального назначения, приспособленные для перевозки определённых видов грузов. Строят двухъярусные платформы для легковых автомобилей, вагоны-думпкары с пневматическим наклоном кузова при разгрузке, многоосные вагоны-транспортёры, на которых перевозят тяжеловесные турбины, генераторы, трансформаторы и др. К специальным также относятся вагоны, приспособленные для обеспечения технических нужд железных дорог.

    Познакомившись вкратце с подвижным составом железных дорог перейдём к рассмотрению моделей подвижного состава.

    Модели подвижного состава представляют собой уменьшенные в 160, 120, 87, а иногда в 32 или 45 раз копии настоящих паровозов, тепловозов, электровозов, пассажирских и грузовых вагонов, электро- и дизель-поездов, автомотрис, изготовленных в соответствовании с требованиями международных «Норм европейских моделей железных дорог» (NEM) (рис. 161, 162). В ряде стран имеются предприятия, изготавливающие действующие модели-копии железнодорожного подвижного состава. Качество изготовления моделей, соответствие оригиналу, степень детализации у многих предприятий доведены до высокого технического уровня и постоянно продолжают совершенствоваться.

    Рис. 161. Модели локомотивов:

    а — тепловоз М62 («Piko» ГДР); б — паровоз Ов («Счётмаш» г. Курск): 1 — корпус; 2 — электродвигатель; 3 — редуктор; 4 — ходовая часть; 5 — тендер

    Рис. 162. Модели вагонов:

    а — четырёхосный вагон-ледник («Piko» ГДР); б — двухосный пассажирский вагон («Счётмаш» г. Курск): 1 — крыша; 2 — корпус; 3 — тележка

    Наибольший ассортимент модельного подвижного состава изготавливают в масштабе 1:87 (H0), в последнее время значительно расширился ассортимент моделей в масштабе 1:160 (N), ряд фирм выпускает модели в масштабе 1:120 (TT). Наибольшей известностью среди моделистов пользуются модели подвижного состава, изготовленные фирмами «Rivarossi» (Италия), «Piko» и «Berliner TT Bahnen» (ГДР), «Marklin», «Trix» и «Fleischmann» (ФРГ), «Roco» и «Lilliput» (Австрия). Модели, выпускаемые этими фирмами, имеют оригинальную конструкцию: изготовлены они, как правило, с большим искусством, точно воспроизводят оригинал и имеют тонкую детализацию (рис. 163). Как уже отмечалось, с 1982г. в нашей стране начат выпуск моделей подвижного состава в масштабе 1:87 (см. рис. 3).

    Рис. 163. Модели локомотивов, изготавливаемые зарубежными фирмами

    Модели локомотивов, выполненные в масштабах 1:160, 1:120 и 1:87, приводятся в действие от электродвигателей постоянного тока напряжением 12 В; подвод электроэнергии осуществлен через рельсы. К моделям электровозов электрический ток может подаваться через один рельс и контактный провод. Отдельные предприятия изготавливают модели локомотивов в масштабах 1:87, 1:45, 1:32 с электродвигателями переменного тока напряжением 16 В. Для подведения электрического тока к таким моделям принята специальная система, при которой в межрельсовом пространстве устраивают контакты (рис. 164). Для моделей паровозов в масштабе 1:45 и более крупных двигателем может служить паровая машина. Модельный подвижной состав оборудуют автоматической сцепкой. В моделях, как правило, устраивают электрическое освещение — прожекторы и буферные фонари на локомотивах, подсветка купе и салонов в пассажирских вагонах.

    Рис. 164. Системы электроснабжения:

    а — с взаимноизолированнымн рельсами; б — с электрически соединенными рельсами и контактами в межрельсовом пространстве

    Локомотивы, изготовленные в масштабах 1:87, 1:45 и 1:32, могут иметь устройства для подачи звуковых сигналов, а модели паровозов, кроме того, могут быть оборудованы устройствами, имитирующими выпуск дыма из дымовой трубы.

    Высокую степень соответствия моделей подвижного состава оpигиналам достигают точной передачей размеров, чистотой обработки деталей, качеством окраски. На моделях локомотивов и вагонов воспроизводят мельчайшие детали кузова, экипажной части, движущего механизма, тормозного оборудования, заклёпочные соединения, деревянную обшивку и др. Особый эффект придают моделям накладные детали — трубопроводы, различные приводы, поручни, подножки и др. В качестве материала для изготовления моделей подвижного состава промышленность наиболее широко применяет различные пластмассы — полистирол, капрон и др., однако некоторые фирмы продолжают изготавливать металлические модели.

    В процессе эксплуатации модели требуют некоторого ухода. У моделей локомотивов через 20 — 30 ч работы следует смазывать подшипники электродвигателя, редуктора и осевые подшипники. Для смазки применяют часовое масло. После продолжительной работы надо периодически протирать бензином поверхности катания токосъёмных колёс и рельсового пути. При длительной эксплуатации модели может возникнуть необходимость замены щёток электродвигателя. Эту операцию следует производить в соответствии с инстpукцией завода-изготовителя.

    Самостоятельное изготовление моделей подвижного состава представляет собой одно из направлений железнодорожного моделизма. Наряду с коллекционированием готовых изделий у многих любителей возникает желание своими руками построить новую, оригинальную модель локомотива или вагона. Как правило, они с большим увлечением стараются воссоздать в миниатюре действуюшие модели-копии образцов подвижного состава, вошедших в историю отечественной техники, историю государства.

    За последнее время советскими моделистами создано много интересных моделей отечественных локомотивов и вагонов (рис. 165, 166). Эти модели неоднократно демонстрировались на международных конкурсах железнодорожных моделистов в ГДР, ЧССР и на выставках в Центральном доме культуры железнодорожников в Москве. Отдельные из них удостоены призовых мест в международных конкурсах. Авторами моделей с большой точностью переданы размеры и воспроизведены основные узлы локомотивов — экипажная часть, котёл, паровая машина, будка, тендер у паровозов, кузова и тележки у тепловоза и вагонов, тщательно выполнена деталировка, аккуратно сделана окраска и надписи.

    Рис. 165. Модели советских локомотивов:

    а — паровоз С (авт. Б. С. Фёдоров); б — паровоз Щ (авт. И. И. Прохоров); в — паровоз Су (авт. Н. И. Сапрыкин); г — паровоз Э (авт. И. И. Прохоров); д — паровоз ФДв (ИС-20) (авт. Н. И. Сапрыкин); е — паровоз Л (авт. Ш. Ш. Шафеев)

    Рис. 166. Модели советских вагонов:

    а — четырёхосный пассажирский с деревянным кузовом (авт. И. И. Прохоров); б — четырёхосная платформа (авт. И. И. Прохоров); в — четырёхосный крытый с металлическим кузовом (авт. К. Прохазка); г — двухосный крытый НТВ (авт. М. Д. Давидимус)

    Особо следует отметить модели двухосных грузовых вагонов типа НТВ (нормальный товарный вагон) (см. рис. 166, г), изготовленные М. Д. Давидимусом. При изготовлении моделей этих вагонов он использовал промышленную технологию — все детали отлиты из полистирола в пресс-форме под давлением. Высокое мастерство, с которым изготовлена эта модель, отмечено золотой медалью на Международном конкурсе железнодорожных моделистов, проходившем в г. Братиславе (ЧССР) в 1970 г.

    Широкой популярностью среди моделистов пользуется такой вид творчества, как доработка промышленных моделей подвижного состава с целью улучшения их качества или получения различных модификаций одного типа, серии. Так, например, для придания большей достоверности на моделях выполняют дополнительную окраску, воспроизводят различные трубопроводы, детали тормозного оборудования, приборы освещения, поручни и др. Для улучшения художественного восприятия модель как бы искусственно «состаривают», воспроизводя подкраской запылённость кузовов вагонов и локомотивов, подтёки смазки на ходовых частях, загрязнение котлов цистерн нефтепродуктами и кузовов грузовых вагонов перевозимыми сыпучими грузами. Выполнив определённые работы, можно получить несколько иной тип локомотива или вагона. Например, изменив окраску и надписи широко известной модели тепловоза серии 120 фирмы «Piko» (ГДР), можно получить модель советского тепловоза серии М62, а соединив две секции, заглушив окна в средних кабинах управления и выполнив переходный тамбур — модель двухсекционного тепловоза 2М62. Изготовиви новый тендер, несколько изменив конструкцию котла, будки, площадки, цилиндров паровоза серии 52 («Piko»), можно получить модель советского паровоза серии ТЭ (рис. 167, а, б).

    Рис. 167. Модели локомотивов, полученные путём переделки промышленных изделий:

    а — паровоз серии 52 («Piko» ГДР); б — паровоз серии ТЭ (авт. Е. Л. Шкляренко)

    Модели подвижного состава, имеющие различные доработки и усовершенствования, могут быть представлены на Международные конкурсы железнодорожных моделистов, где их оценивают в соответствующих категориях.

    2. Изготовление моделей подвижного состава

    Изготовление моделей подвижного состава представляет собой сложную и очень кропотливую работу. Чтобы правильно построить модель локомотива или вагона, прежде всего надо иметь общее представление о назначении тех или иных узлов и деталей оригинала, т.е. изучить предмет моделирования. Необходимые для этого познания можно почерпнуть из общего курса железных дорог и другой специальной литературы.

    Степень соответствия оригинала и качество изготовления сложных моделей подвижного состава во многом зависят от практических способностей моделиста. Постройка моделей требует определённых навыков по обработке материалов, умения пользоваться различными инструментами. Поэтому начинающим любителям рекомендуется постройка наиболее простых по конструкции моделей.

    При изготовлении моделей в домашних условиях любители используют самые разнообразные материалы, в основном это латунь, медь, органическое стекло, полистирол, целлулоид и др. Сталь и жесть находят весьма ограниченное применение из-за вредного воздействия на постоянный магнит электродвигателей, используемых в моделях локомотивов. В любительском моделизме возможно широкое использование узлов и деталей от моделей выпускаемых промышленностью — электродвигателей, редукторов, колёсных пар, сцепок и др.

    Начинать работу слудеут с составления конструкторской документации. Материалом для разработки конструкторской документации могут служить чертежи общих видов оригинала и набор фотографий, детально представляющих его общий вид. Перед составлением чертежей модели надо внимательно ознакомиться с устройством, чертежами и фотографиями выбранного локомотива или вагона. Приступать к разработке документации следует с составления чертежа общего вида модели, включающего не менее трёх проекций — вид сбоку, спереди и сверху. Если боковые и торцевые стороны локомотива или вагона не симметричны, то проекции делают на каждую сторону. Общий вид модели, как правило, вычерчивают увеличенным в 2 или 4 раза. Все размеры на чертежах указывают в милиметрах с точностью до 0.1. При конструировании модели необходимо руководствоваться требованиями «Норм на модели европейских железных дорог» (NEM) (см. главу IX).

    После составления чертежа общего вида для моделей локомотивов подбирают электродвигатель и рассчитывают механическую передачу — редуктор, который должен сообщить движущей колёсной паре модели частоту вращения, обеспечивающую масштабную скорость движения. Для моделей локомотивов используют электродвигатель постоянного тока напряжением 12 — 16 В с частотой вращения вала 8000 — 12 000 об/мин (рис. 168). Электродвигатель должен свободно размещаться в корпусе модели; при снятии корпуса к электродвигателю и редуктору должен быть открыт свободный доступ. Кинематическую схему редуктора выбирают в зависимости от типа и размера электродвигателя, места его установки, очертаний и размеров модели. В моделях паровозов электродвигатель можно поместить в самом паровозе или в тендере. При размещении электродвигателя в тендере удаётся сделать полностью скрытый под корпусом тендера редуктор и поместить электродвигатель сравнительно больших размеров. Привод в этом случае может осуществляться на колёса тендера (рис. 169, а) или через карданный (гибкий) вал на ведущие колёса паровоза (рис. 169, б). Используя схему, при которой электродвигатель помещён в паровозе (в котле или будке, рис. 169, в), несколько сложнее сделать редуктор невидимым снаружи, а также труднее подобрать электродвигатель, так как его размеры ограничиваются рамерами котла и будки модели паровоза, однако эта схема, как и предыдущая, предпочтительнее тем, что привод осуществляется на движущие колёса, и это обеспечивает более плавное движение модели. Для моделей тепловозов и электровозов применяют конструкции привода с одним электродвигателем и передачей на одну или две тележки (рис. 169, г) или с индивидуальным приводом каждой тележки (рис. 169, д).

    Рис. 168. Электродвигатели для моделей локомотивов

    Рис. 169. Киинематические схемы редукторов моделей локомотивов:

    1 — электродвигатель; 2 — цилиндрические шестерни; 3 — червячные шестерни; 4 — эластичное соединение; 5 — шарнирное соединение

    При изготовлении моделей локомотивов в домашних условиях целесообразно использовать электродвигатель и детали редуктора от моделей промышленного изготовления. Если использовать готовый редуктор не удаётся, то его рассчитывают и собирают из шестерней от механических игрушек, старых часов-будильников, фотоаппаратов и др. Для расчёта редуктора надо определить максимальную скорость движения модели и требуемую частоту вращения ведущей оси модели локомотива. Масштабную скорость движения модели определяют уменьшением конструкционной скорости локомотива в число раз, соответствующее масштабу модели.

    Если скорость движения локомотива равна 115 км/ч, то модель, изготавливаемая в масштабе 1:87, должна двигаться со скоростью

    115:87 = 1,32 км/ч = 22 000 мм/мин.

    Частоту вращения ведущей оси модели локомотива определяют делением масштабной скорости на длину окружности ведущего колеса модели. Допустим, что диаметр ведущего колеса локомотива 1850 мм, для модели в масштабе 1:87 это составит 21,3 мм, а длина окружности

    lк = dк ? = 21,3 • 3,14 = 67 мм,

    тогда необходимая частота вращения ведущей оси модели для нашего примера будет

    nк = v : lк = 22 000 : 67 = 328 об/мин.

    Имея электродвигатель с частотой вращения 10000 об/мин и частоту вращения ведущей оси модели, определим общее передаточное отношение редуктора

    i = nдв : nк = 10 000 : 328 = 30,4,

    округлённо принимаем i = 30.

    Редуктор обычно состоит из нескольких ступеней. Произведение передаточных отношений всех ступеней редуктора должно составлять общее передаточное отношение. Расчёт ступени редуктора производят по формуле

    z1 / z2 = n2 / n1,

    где z1 и z2 — число зубьев на первой и второй шестернях; n1 и n2 — частоты вращения шестерён.

    Расстояние между центрами шестерён принимают на 0,2 — 0,3 мм больше суммы радиусов начальных окружностей шестерён (расчётного межосевого расстояния), чтобы иметь достаточные боковой и радиальный зазоры во избежание заклинивания.

    Передаточное отношение редукторов с червячными парами рассчитывают по той же формуле. Число z для червяка определяют по числу его заходов. Так, например, для однозаходного червяка z = 1, для двухзаходного z = 2 и т. д.

    После расчёта редуктора приступают к разработке чертежей экипажной части и корпуса модели. При разработке детальных чертежей учитывают технологию изготовления отдельных деталей и последовательность сборки модели. В зависимости от используемых материалов применяют различные конструкции и технологические приёмы соединения отдельных деталей и сборки модели. Детальные чертежи разрабатывают увеличенными в 2 — 5 раз, а на отдельные мелкие узлы и детали — в 10 раз.

    Последовательность постройки модели паровоза в масштабе 1:87 рассмотрим на примере серии Нв (рис. 170). Для масштабов 1:120 и 1:160 последовательность изготовления сохраняется, но необходимо некоторое упрощение отдельных мелких узлов и деталей.

    Рис. 170. Модель паровоза серии Нв (авт. Б. С. Федоров)

    Приступать к постройке модели рекомендуется с изготовления экипажной части (рис. 171). Раму делают из листовой меди, латуни или органического стекла; толщина заготовок для полотен рамы должна быть 1 — 1,5 мм. Отдельные детали экипажной части при изготовлении их из металла собирают на резьбовых соединениях или на пайке, а при изготовлении их из органического стекла — склеивают. Полотна рамы выпиливают напильниками и надфилями, обрабатывая одновременно обе заготовки полотен, соединенные между собой. Вырезы в раме (окна) высверливают, а затем их стороны обрабатывают надфилями. Изготовленные полотна рамы и межрамные крепления соединяют между собой. Отверстия для осей сверлят после сборки рамы. Если редуктор размещён в корпусе паровоза, то сборку редуктора ведут одновременно со сборкой рамы; оси колёсных пар при этом вставляют не в отверстия, а в вырезы рамы и крепят снизу прижимной пластиной (рис. 171, б). После сборки рамы проверяют работу редуктора, подключив электродвигатель по временной схеме.

    Рис. 171. Экипажная часть модели паровоза:

    а — без привода; б — с приводом; 1 — рама; 2 — бегунковая тележка; 3 — рессоры; 4 — рессорные подвески; 5 — балансиры; 6 — оси; 7 — прижимная пластина; 8 — электродвигатель; 9 — редуктор

    Затем приступают к декоративному оформлению рамы. На полотнах рамы высверливают отверстия диаметром 0,8 мм (можно не сквозные) в местах расположения топочных связей. Делают имитацию заклёпочных и болтовых соединений рамы. Для этого на раму можно напаять или наклеить пластинки меди, латуни толщиной 0,2 — 0,3 мм с выдавленными заклёпочными головками. Способ декоративного воспроизведения заклёпочных швов на тонком листе описан в главе X. Головки крупных болтов можно имитировать другим способом — в полотнах рамы сверлят отверстия диаметром 0,5 — 1 мм и в них вставляют отрезки проволоки соответствующего диаметра, выступающие над полотнами рамы на 0,5 мм. Для удобства сборки детали рессорного подвешивания изготавливают из того же материала, что и раму. Листовые рессоры можно сделать при помощи штангенциркуля. В заготовке толщиной 1,5 — 2 мм сверлят отверстие диаметром 0,5 мм. По нониусу движок штангенциркуля устанавливают на размер, соответствующий радиусу изгиба рессоры; подвижную ножку штангенциркуля вставляют в отверстие в заготовке, а неподвижной ножкой на заготовке прочерчивают канавку. Изменяя по нониусу расстояние между ножками штангенциркуля на 0,2 — 0,3 мм, на заготовке наносят канавки по числу листов в рессоре. Далее, выпилив из общей заготовки необходимый элемент, его обрабатывают напильниками и надфилями, придавая конфигурацию рессоры. Рессоры также можно делать наборными из отдельных пластин толщиной 0,2 — 0,3 мм. В средней части рессоры накладывают хомут из полоски толщиной 0,3 — 0,5 мм. Рессоры крепят к раме через рессорные подвески и балансиры.

    Толщина заготовок балансиров должна соответствовать толщине полотен рамы. Рессорные подвески выпиливают из полосок толщиной 0,5 мм, изгибают и соединяют с рессорами и балансирами пайкой или склеиванием.

    В экипажную часть паровоза входят поддерживающие и бегунковые тележки (в данном примере только бегунковая, см. рис. 171). При изготовлении тележек соблюдается та же последовательность, что и при изготовлении рамы. Собранная тележка крепится к раме на шарнире, обеспечивающем отклонение тележки от продольной оси паровоза в горизонтальной плоскости при прохождении кривых. Для обеспечения плавного движения модели оси тележек должны быть подпружинены и иметь вертикальный разбег в пределах 1,5 — 2 мм.

    Колёса для моделей локомотивов имеют металлические бандажи, с которых осуществляется съём тока. Два колеса, запрессованных на оси, образуют колёсную пару (рис. 172). Положение колёс на оси, ширина бандажа, высота гребня и другие параметры модельных колёсных пар должны точно соответствовать требованиям норм NEM 310 и 311 (см. главу IX).

    Рис. 172. Колёсная пара паровоза:

    1 — спицевой колёсный центр; 2 — бандаж; 3 — ступица; 4 — ось; 5 — кривошип; 6 — противовес

    В условиях домашнего моделирования колёса для моделей подвижного состава следует по возможности использовать от моделей промышленного изготовления. Однако часто из-за несоответствия диаметра и числа спиц колёса приходится делать самостоятельно. Колёса со спицевым колёсным центром можно изготавливать в пресс-форме из полистирола или самотвердеющих пластмасс, используемых в зубном протезировании. Пресс-форма (рис. 173) для изготовления колёс состоит из матрицы, корпуса и крышки; делают эти детали из металла на токарном и фрезерном станках. Особое внимание уделяют чистоте обработки поверхностей матрицы. При изготовлении колёс из самотвердеющих пластмасс процесс состоит из следующих операций: в пресс-форму закладывают металлический бандаж колеса и втулку (ступицу) для оси, заполняют пресс-форму жидкой пластмассой, закрывают крышкой и сжимают в тисках. Через 15 — 20 мин, когда заканчивают процесс твердения пластмассы, пресс-форму разбирают и из неё шпилькой диаметром, соответствующим диаметру отверстия в центре матрицы, выталкивают готовое колесо. Полученное изделие зачищают от облоев.

    Рис. 173. Пресс-форма для изготовления колёс:

    1 — матрица; 2 — корпус; 3 — крышка

    При изготовлении колёс из полистирола пресс-форму заполняют под давлением через литник на ручных или полуавтоматических полистироловых прессах.

    Если отсутствует возможность изготовления пресс-формы, колёса со спицевым колёсным центром можно сделать сборными. Конструкция такого колеса показана на рис. 174, а его изготовление ведётся в следующей последовательности. На токарном станке вытачивают бандаж, внутреннее кольцо и втулку. Спицы делают из проволоки или листового металла толщиной до 1 мм. При этом бандаж делают из стали, а кольцо, втулку и спицы из любого металла, подвергающегося пайке. Окружность внутреннего кольца размечают на части соответственно количеству спиц и в зависимости от материала спиц в местах их расположения делают отверстия или пропилы. Сборку колеса выполняют на деревянном бруске с гладкой поверхностью. Если для спиц использован листовой материал, то для улучшения качества сборки на бруске намечают условный центр и относительно его при помощи угломера или транспортира размечают положение спиц будущего колеса. Острым ножом по линиям разметки спиц делают прорези на глубину 1 мм. В намеченном центре сверлят отверстие для оси, вставляют ось и на неё надевают центровочную бабышку, диаметром, равным внутреннему диаметру кольца. На бабышку надевают кольцо и его положение фиксируют маленькими гвоздями, которые забивают в брусок через небольшие интервалы. Центровочную бабышку снимают, а на ось надевают втулку (ступицу). В отверстия или надрезы внутреннего кольца и в канавку во втулке вставляют спицы, причём спицы, изготовленные из листа, должны входить в прорези на деревянном бруске. Выверив положение спиц, их можно зафиксировать на поверхности бруска небольшими каплями нитролака или нитрокраски. Когда краска высохнет, места соединения спиц со ступицей и кольцом смачивают паяльной кислотой и паяют небольшими порциями олова. Затем на колёсный центр напаивают противовес, кривошип и бандаж, предварительно удалив гвозди, фиксирующие кольцо. Колесо аккуратно снимают с бруска и зачищают места пайки.

    Рис. 174. Конструкция сборного колёсного центра:

    1 — бандаж; 2 — кольцо; 3 — спица; 4 — кривошип; 5 — втулка (ступица); 6 — противовес

    Независимо от способа изготовления готовое колесо следует отцентрировать на токарном станке, обточив поверхность катания на 0,1 — 0,3 мм. Колёса с цельнокатаными центрами можно изготовить в пресс-форме или выточить на токарном станке.

    Колёса запрессовывают на оси, изготовленные из стальной проволоки. Паровозные колёса запрессовывают на оси со смещением на 90° (по ходу часовой стрелки) кривошипа правого колеса относительно кривошипа левого. Если колёса сделаны из металла, то при сборке колёсной пары между колесом и осью следует устанавливать пластмассовую втулку, которая будет служить изолятором. Для снятия колёс с оси необходимо пользоваться специальным винтовым съёмником (рис. 175).

    Рис. 175. Съёмник колёс:

    1 — колесо; 2 — раздвижной хомут; 3 — упорная планка; 4 — нажимной винт

    Когда изготовлена экипажная часть, смонтирован редуктор и электродвигатель, установлены колёсные пары, приступают к электрооборудованию модели (рис. 176). Для подведения электрического тока от рельсов к электродвигателю модели делают токосъёмники, касающиеся своими концами металлических бандажей колёс. Токосъёмники изготавливают из упругой медной пластины толщиной 0,2 — 0,3 мм. К металлическим рамам токосъёмники крепят на изоляторах. Для обеспечения устойчивого движения модели токосъёмники устанавливают на возможно большем числе колёс.

    Рис. 176. Схема электрооборудования модели

    паровоза:

    1 — лампа прожектора; 2 — дроссель; 3 — конденсатор; 4 — электродвигатель; 5 — колёсные пары; 6 — токосъёмники

    Так как для приведения в действие моделей локомотивов используют коллекторные электродвигатели, у которых во время работы на коллекторе возникает искрение, являющееся источником радиопомех, в подводящие электрические цепи устанавливают фильтры подавления радиопомех. Достаточно эффективным фильтром могут служить два дросселя, соединенных конденсатором ёмкостью 100 пФ. Дроссели можно изготовить путём намотки 50 витков эмалированного провода диаметром 0,3 мм на ферритовый стержень диаметром 4 — 5 мм, длиной 18 мм.

    Подключив электрическую схему, необходимо проверить экипажную часть в различных режимах движения по рельсовому пути на прямых, кривых участках и по стрелочным переводам.

    Следующим этапом работы является изготовление деталей паровой машины (рис. 177). Хотя в модели эти детали, имея декоративный характер, не выполняют своего прямого назначения, они в то же время как бы воссоздают внешний, видимый эффект работы паровой машины, поэтому при их изготовлении требуется большая аккуратность. Кроме того, при этом требуется и высокая точность, так как от качества изготовления будет зависеть плавность движения модели, Детали движущего и парораспределительного механизмов для модели изготавливают из стальных или алюминиевых пластин толщиной от 0,8 до 1,2 мм. Особое внимание следует обращать на точность сверления отверстий в сцепных дышлах, расстояния между которыми должны точно соответствовать расстояниям между осями ведущих колёсных пар. Заготовки деталей движущего и парораспределительного механизмов с просверленными в них отверстиями обрабатывают напильниками и надфилями по форме оригинала. Соответствующие детали правой и левой сторон обрабатывают одновременно, соединенными между собой. Углубления в профиле дышел выбирают на фрезерном станке, однако этот способ доступен не всем моделистам, и можно рекомендовать более простой. В стальной заготовке дышла толщиной 0,8 мм по длине канавки высверливают отверстия и обрабатывают надфилем, а к обратной стороне дышла припаивают пластинку из белой жести толщиной 0,2 — 0,3 мм (рис. 178).

    Рис. 177. Движущий и парораспределительный механизмы модели паровоза:

    1 — цилиндровый блок; 2 — маятник; 3 — шток; 4 — крейцкопф; 5 — параллель; 6 — поршневое дышло; 7 — кулисная тяга; 8 — сцепное дышло (спарник); 9 — щека контркривошипа; 10 — кулиса; 11 — золотниковая тяга

    Рис. 178. Конструкция сборного дышла:

    1 — пластинка из жести; 2 — заготовка дышла

    Шарнирные соединения деталей парораспределительного механизма делают на стальных валиках диаметром 0,7 — 1 мм. Для обеспечения подвижности в узлах соединения деталей сборку их ведут в такой последовательности: на валик надевают какую-либо деталь, например кулисную тягу (рис. 179), затем валик вставляют в небольшой лист чертёжной бумаги или тонкого картона, на него надевают другую деталь (в данном примере — контркривошип) и с обратной стороны припаивают к валику, картон разрывают, а между деталями остается постоянный зазор. Отдельно собирают парораспределительный механизм правой и левой стороны, соединяя контркривошип, кулисную тягу, кулису, золотниковую тягу и маятник.

    Рис. 179. Узлы крепления деталей движущего и парораспределительного механизма:

    а — крепление сцепных дышел на колёсах; б — соединение кулисной тяги с контркривошипом; в — соединение крейцкопфа с поршневым дышлом; 1 — болт; 2 — валик

    Цилиндровый блок (рис. 180, а) выпиливают из металлического (медного, латунного) или пластмассового бруска. Чтобы воспроизвести сложную конфигурацию цилиндрового блока, из стали толщиной 1,5 — 2 мм выпиливают два шаблона по очертаниям цилиндрового блока. Заготовку зажимают в тисках между двумя шаблонами (рис. 180, б) и напильниками различного профиля обрабатывают до нужной формы. Обработанная заготовка может быть оклеена латунной или медной фольгой с выдавленными на ней заклёпочными головками. К цилиндровому блоку припаивают или приклеивают цилиндровые крышки, продувательные краны, колпаки контрштоков и др. Затем делают кулисную балку, её заготовку выпиливают из листового металла или пластмассы толщиной 1 — 1,5 мм. Так как в оригинале эта деталь изготовлена методом литья, на модели в определённых местах должны быть воспроизведены приливы металла. Это можно выполнить, напаивая или наклеивая по внешнему контуру и контуру окон заготовки тонкие металлические или пластмассовые полоски. Готовый цилиндровый блок и кулисную балку устанавливают на раму, к ним крепят параллели и монтируют движущий и парораспределительный механизмы. К колёсным парам дышла крепят при помощи небольших болтов MI-1,5, которые завертывают в кривошип колеса. Если в модели использованы металлические колёса, то следует предусмотреть меры, исключающие короткое замыкание электрического тока, так как движущий и парораспределительный механизмы будут находиться под напряжением. Для этого в изготовленных из металла кулисной балке и цилиндровом блоке должны быть предусмотрены изолирующие вставки. После сборки проверяют работу всех узлов движущего и парораспределительного механизма модели.

    Рис. 180. Цилиндровый блок:

    а — общий вид; б — изготовление блока; 1 — блок ; 2 — цилиндровые крышки; 3 — колпак контрштока; 4 — продувательные краны; 5 — заготовка; 6 — оправка; 7 — направляющие шпильки

    Окончив изготовление редуктора, экипажной части и паровой машины, приступают к изготовлению корпуса модели паровоза (рис. 181). Будку и площадку делают из латунного, медного листа, тонкого органического стекла или полистирола. Для удобства сборки берут однородный материал. Сначала вырезают заготовки по контуру, затем на металлических заготовках делают имитацию заклёпочных соединений; на пластмассовые заготовки наклеивают тонкую металлическую фольгу с выдавленными заклёпочными головками. При изготовлении деталей будки, площадки и других деталей корпуса могут потребоваться профилированные заготовки. Их можно сделать с помощью несложных приспособлений, описание которых приведено в главе X. Детали будки и площадки, имеющие изогнутую форму, изгибают на оправках. Окантовку окон и краев будки делают, напаивая на металлическую заготовку стенки проволоку диаметром 0,3 мм или наклеивая на пластмассовую заготовку узкие полоски полистирола. При сборке отдельные металлические детали соединяют между собой на пайке, пластмассовые — склеивают. Для обеспечения точности сборки используют поверочную плиту и другие приспособления, с помощью которых фиксируют положение соединяемых деталей. Поручни и ограждения площадок изготовляют из стальной проволоки диаметром 0,3 — 0,4 мм, сборку их производят в кондукторе. В местах соединения проволоки делают прилив олова, который затем обрабатывают надфилями по форме шара, т. е. воспроизводят головку поручня. Стойки поручней и ограждений также могут быть выточены на токарном станке. На паровозной площадке укрепляют лесенки, подножки. Передний буферный брус в зависимости от принятой конструкции может быть установлен на площадке или на раме.

    Рис. 181. Корпус модели паровоза:

    1 — будка машиниста; 2 — фонарь будки; 3 — свисток; 4 — предохранительный клапан на топке; 5 — топка; 6 — паровой котёл; 7 — песочница; 8 — сухопарник; 9 — дымовая труба; 10 — американский фонарь; 11 — дымовая коробка; 12 — ограждение площадки; 13 — крышка дымовой коробки; 14 — буферные фонари; 15 — буферный брус; 16 — подножки; 17 — площадка; 18 — паровоздушный насос

    Цилиндрическую часть котла модели паровоза вытачивают на токарном станке или выгибают из металлического листа толщиной 0,3 — 0,5 мм на оправках. Топочную часть котла и переднюю стенку дымовой коробки с дверцей делают отдельно и присоединяют к котлу при сборке. На передней стенке дымовой коробки воспроизводят петли и запорные устройства дверцы, а на топочной части — промывные люки. Дымовую коробку обтягивают фольгой толщиной 0,2 мм с выдавленными заклёпочными головками, а топочную часть обтягивают тонким медным или латунным листом с высверленными отверстиями диаметром 0,5 мм в местах расположения связей топки. Дымовую трубу вытачивают на токарном станке, а в месте соединения с котлом обрабатывают вручную при помощи напильников и надфилей. Паровой колпак (сухопарник) и песочницу в зависимости от формы выпиливают из металлического или пластмассового бруска или изготавливают так же, как и дымовую трубу. Трубопроводы на поверхности котла делают накладными из проволоки соответствующего диаметра. При изготовлении арматуры котла материал подбирают с учётом того, что отдельные части свистка, предохранительного клапана и др. не окрашивались и имели естественный цвет металла. Готовые детали корпуса модели соединяют между собой, при этом для удобства дальнейшей окраски соединяют в узлы детали, имеющие одинаковый цвет. Затем производят предварительную сборку всей модели, устраняя допущенные при изготовлении узлов неточности.

    Когда модель паровоза в основном готова, приступают к постройке тендера. Если размещение электродвигателя предусмотрено в тендере, то прежде всего собирают узлы, приводящие модель в движение. Затем делают тендерный бак и экипажную часть тендера. Тендерные баки отечественных паровозов имели прямоугольную форму, поэтому изготовление тендера не представляет особых трудностей. Бак делают из листовой латуни, меди или органического стекла, воспроизводя на заготовках заклёпочные швы. На верхней плоскости бака, называемой тендерной палубой, устанавливают водоналивные горловины с люками, на задней стенке — инструментальный ящик. На тендерном баке монтируют поручни, подножки и др.

    Экипажная часть трёхосного тендера состоит из жёсткой рамы. Снаружи на полотнах рамы устанавливают буксы с направляющими, рессоры, подвески, балансиры. При изготовлении деталей рессорного подвешивания тендера может быть использована технология изготовления аналогичных деталей модели паровоза. Экипажная часть четырёх- и шестиосных паровозных тендеров состоит из двух двухосных или трёхосных тележек. Тендерные тележки изготавливают так же, как и тележки вагонов, поэтому описание этих работ дано ниже.

    Собранную модель паровоза проверяют в действии. Если при этом оказывается, что сила тяги недостаточна из-за малой нагрузки на ведущие колёса (боксование колёс), то модель утяжеляют свинцовыми грузиками, укреплёнными под корпусом. Затем модель разбирают и подготавливают к окраске.

    Процесс изготовления моделей современных локомотивов — тепловозов и электровозов имеет некоторые свои особенности, Кузова современных локомотивов имеют обтекаемую форму, изготовлены они из холоднокатаного стального листа с рёбрами жёсткости; все соединения деталей делают сварными. При изготовлении модели такого локомотива в качестве материала можно широко применять органическое стекло и пластмассы. Последовательность изготовления модели в основном сохраняется — разрабатываются чертежи, рассчитывают редуктор, изготавливают и проверяют в действии экипажную часть модели, затем приступают к постройке корпуса,

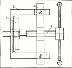
    Экипажная часть модели электровоза или тепловоза состоит из двух тележек (рис. 182), свободно поворачивающихся в горизонтальной плоскости на раме кузова при движении локомотива по кривым участкам пути. Тележка имеет двойную раму: внутреннюю — несущую, на которой установлены колёсные пары, редуктор и электродвигатель при индивидуальном приводе тележки, и наружную — декоративную, по своим формам и подробностям в деталях максимально повторяющую тележку настоящего локомотива. На наружной (декоративной) раме крепят буксы, детали рессорного подвешивания и тормозного оборудования. Изготовление основных узлов рамы тележки существенно не отличается от изготовления рамы модели паровоза. Наружную раму с деталями можно изготавливать из пластмассы, так как этот материал легче поддаётся обработке. Буксы в зависимости от формы выпиливают из бруска или вытачивают на токарном станке, пружинные рессоры изготавливают из медной проволоки диаметром 0,3 — 0,5 мм, которую навивают на металлический стержень соответствующего диаметра. Для ускорения изготовления тормозных колодок можно воспользоваться следующим способом; из пластмассы на токарном станке вытачивают кольцо, внутренним диаметром на 1,5 — 2 мм больше диаметра колеса (по поверхности катания), в сечении повторяющее сечение тормозной колодки. Затем кольцо разрезают и отдельные заготовки обрабатывают надфилем по форме тормозной колодки. Тормозные цилиндры и воздушные резервуары вытачивают на токарном станке, детали рычажной передачи тормоза изготавливают из металлических пластин толщиной до 0,5 мм и из проволоки. Отдельные детали наружной рамы в зависимости от материала паяют или склеивают, наружную раму тележки крепят к внутренней после проверки работы редуктора.

    Рис. 182. Тележка модели электровоза:

    1 — наружная рама; 2 — электродвигатель; 3 — редуктор; 4 — внутренняя рама; 5 — тормозной цилиндр; 6 — рессора; 7 — букса

    Кузов модели тепловоза или электровоза (рис. 183) состоит из следующих основных деталей: боковых стенок, передних стенок с кабинами управления и крыши. Кузов крепят к раме, которая опирается на тележки. На раме может быть установлен электродвигатель и детали редуктора. Соединение рамы с тележками должно позволять последним поворачиваться относительно рамы при прохождении локомотивом кривых участков пути. Для удобства устранения неисправностей редуктора и электродвигателя, ухода за ними корпус модели делают съёмным и крепят к раме при помощи винтов.

    Рис. 183. Кузов модели электровоза

    Боковые стенки кузова можно изготавливать из латунного, медного листа толщиной 0,5 — 0,8 мм или из органического стекла толщиной 1 — 1,5 мм. На заготовках делают вырезы для окон и жалюзи. Жалюзи для охлаждения рабочих органов локомотива делают отдельно и затем вставляют в боковые стенки кузова. Жалюзи изготовляют сборными из отдельных пластмассовых пластин (рис. 184), которые наклеивают на общее основание. Чтобы все пластины, из которых собирают жалюзи, имели одинаковый профиль, заготовки обрабатывают оправками соответствующей формы, изготовленными из стальных пластин.

    Рис. 184. Конструкция жалюзи для моделей

    Рёбра жёсткости на стенках кузовов, изготовленных из металла, делают из проволоки диаметром 0,3 — 0,6 мм, которую напаивают на заготовку стенки, обеспечивая при помощи шаблона параллельность накладываемых рёбер. Если стенка изготовлена из органического стекла, то на ней по оси рёбер жёсткости делают прорези на 2/3 толщины заготовки шириной 0,4 — 0,8 мм, в которые вклеивают пластмассовые полоски соответствующей толщины. После высыхания клея полоски стачивают напильником до высоты 0,5 — 0,7 мм над поверхностью стенки и округляют края рёбер при помощи оправки, соблюдая при этом меры предосторожности, чтобы не нанести царапины на стенку кузова.

    Передние (торцовые) стенки кузовов современных магистральных локомотивов, как правило, имеют обтекаемую форму, поэтому их изготовление связано с некоторыми особенностями. Эти детали делают из брусков органического стекла или полистирола. Если нет заготовок нужных размеров, то их склеивают из отдельных пластин толщиной 3 — 5 мм. На чертеже переднюю стенку кузова разделяют несколькими горизонтальными и вертикальными сечениями, по которым изготавливают шаблоны. Последние нужны для того, чтобы правильно передать форму закругления кузова, по ним контролируют точность обработки деталей. Шаблоны изготавливают из металлических пластин толщиной до 1 мм. Заготовку стенки, обработанную до основных габаритов, сначала опиливают по очертаниям, полученным при горизонтальных сечениях, а после этого — по очертаниям, полученным при вертикальных сечениях. Затем обрабатывают сопряжения поверхностей и деталь зачищают наждачной бумагой. Оконные стойки, окна кабин управления изготавливают отдельно и приклеивают к передней стенке кузова.

    Крышу кузова изготавливают из органического стекла, контролируя в процессе обработки точность форм детали по шаблонам. Сначала обрабатывают очертания крыши в плане, затем заготовке придают профиль крыши кузова. Рёбра жёсткости на крыше делают так же, как и на боковых стенках, изготавливаемых из пластмассы. Из пластмассового или металлического листа делают накладные, выступающие по высоте крышки аппаратных и высоковольтных камер у моделей электровозов.

    Отдельные детали кузова склеивают, швы между ними шпаклюют и зачищают наждачной бумагой. После этого приступают к отделке кузова модели: к кузову крепят поручни, подножки, прожекторы, путеочистители, крышки песочниц, трапы для хождения по крыше. На моделях тепловозов на крыше устанавливают вентиляторы холодильников, на моделях электровозов — электрооборудование, воздушные резервуары и токоприёмники. Токоприёмник модели электровоза (рис. 185) состоит из двух (верхней и нижней) рам и полоза. Подъём и удержание полоза токоприёмника на требуемой высоте в зависимости от положения провода контактной сети осуществляется при помощи пружины. Рамы токоприёмника делают из стальной проволоки соответствующего диаметра, полоз — из медной пластины. Токоприёмник устанавливают на крыше электровоза на четырёх изоляторах.

    Рис. 185. Токоприёмник электровоза:

    1 — изоляторы; 2 — нижняя рама; 3 — верхняя рама; 4 — полоз

    Готовый кузов соединяют с экипажной частью и проверяют модель в действии, устраняя отдельные неточности, допущенные при изготовлении узлов. Затем модель разбирают, с кузова демонтируют накладные детали и подготавливают модель к окраске.

    При изготовлении моделей пассажирских и грузовых вагонов применяют те же технологические приёмы и материалы, что и при изготовлении моделей локомотивов. Основными узлами модели вагона являются: ходовые (экипажные) части, рама и кузов. У старотипных двух- и трёхосных вагонов ходовые части жёстко соединены с рамой, у четырёх-, шести-, восьми- и многоосных вагонов ходовые части объединены в двух-, трёх- или четырёхосные тележки, на которые опирается рама.

    Колёсные пары моделей вагонов соединяют с рамой или тележкой через конусные подшипники. Такое соединение обеспечивает наименьшее сопротивление движению модели. Размеры осей и подшипников для моделей подвижного состава принимают в соответствии с нормами NEM 313 и 314. Подшипники для колёсных пар делают в виде рамки из металла толщиной 0,5 — 0,7 мм. С наружной стороны на подшипниках укрепляют буксовый узел или боковые рамы тележек, детали рессорного подвешивания и тормозного оборудования. Эти детали можно изготавливать из самотвердеющих зубопротезных пластмасс. Для этого из металла изготавливают образец буксового узла с рессорным подвешиванием или боковину тележки (рис. 186). Поверхности образца тщательно зачищают. Готовый образец заливают расплавленным воском и после твердения воска вынимают. Таким образом, получается восковая форма, которую заливают жидкой пластмассой. Время твердения пластмассы, зависящее от концентрации компонентов, определяют опытным путём. По окончании твердения пластмассы готовую деталь вынимают из восковой формы. Ввиду небольшой прочности восковая форма может служить только один раз.

    Рис. 186. Буксовые узлы грузового (а), пассажирского (б) вагонов и боковины тележек грузового (в), пассажирского (г) вагонов:

    1 — тормозная колодка; 2 — букса; 3 — рессора листовая; 4 — рессора цилиндрическая

    Раму вагона изготавливают из органического стекла толщиной 1,5 — 2 мм. На обработанную по контурам рамы заготовку наклеивают хребтовую и шкворневые балки, буферные брусья и отдельные детали тормозного оборудования. Тележку присоединяют к раме вагона при помощи оси — шкворня, причём это соединение должно позволять тележке свободно поворачиваться в горизонтальной плоскости при прохождении вагоном кривых.

    Кузова моделей вагонов можно изготавливать как из металла, так и из пластмассы. Клепаные кузова старотипных полувагонов, хопперов и других грузовых вагонов лучше изготавливать из медного или латунного листа толщиной 0,3 — 0,5 мм. Кузова современных цельнометаллических вагонов, имеющие рёбра жёсткости, делают так же, как и кузова тепловозов и электровозов. Кузова моделей вагонов, имеющих деревянную обшивку, изготавливают из органического стекла толщиной 1 — 1,5 мм, на заготовках стен расчерчивают полоски, имитирующие дощатую обшивку. Неокрашенную деревянную обшивку кузовов старых пассажирских вагонов воспроизводят путём наклеивания на каркас кузова, изготовленного из органического стекла, узких полосок деревянного шпона (фанеровки) толщиной до 1 мм. Такую обшивку не красят, а покрывают бесцветным лаком. Профилированные металлические детали каркаса кузова грузового вагона — стойки, раскосы, пояса и другие — изготавливают из металлических профилированных заготовок, которые делают при помощи приспособлений, описанных в главе X; при необходимости на этих деталях делают имитацию заклёпок. Котлы цистерн для уменьшения массы делают пустотелыми, их вытачивают на токарном станке или выгибают на оправках из металлического листа. После сборки кузова к нему крепят поручни, подножки, крюки сигнальных фонарей, вентиляционные устройства, детали ручного тормоза и др.

    Модели подвижного состава оборудуют автоматической сцепкой, которую по возможности следует использовать от моделей промышленного изготовления. Если невозможно воспользоваться готовой сцепкой, то её можно сделать самому. Детали сцепки изготавливают из стали толщиной 0,5 — 0,8 мм, размеры сцепки принимают в соответствии с нормой NEM 360. В моделях двухосных вагонов сцепку устанавливают на раме вагона, а в моделях локомотивов и четырёхосных вагонов для лучшего прохождения кривых участков пути сцепку устанавливают на тележках. Кроме того, сцепка должна иметь возможность отклонения от оси вагона в горизонтальной плоскости на 15 — 20°, а для возврата в первоначальное положение — возвращающее устройство в виде пружины. Для придания моделям локомотивов большего сходства с оригиналом на переднем буферном брусе вместо модельной сцепки может быть установлена декоративная сцепка, копирующая винтовую стяжку или автосцепку советского подвижного состава СА-3.

    В моделях локомотивов и пассажирских вагонов устраивают электрическое освещение. Источником света служат электрические лампочки напряжением от 2 до 12 В. Лампочки, рассчитанные на напряжение 12 В, соединяют параллельно, а на меньшее напряжение — последовательно. Не обязательно в каждом прожекторе устанавливать лампочку — для подведения света можно устраивать светопроводы (рис. 187) из прозрачного органического стекла; отражающие поверхности светопроводов полируют. Во избежание просвечивания кузовов локомотивов и вагонов, изготовленных из пластмассы, внутренние поверхности таких кузовов покрывают толстым слоем чёрной нитрокраски. В моделях локомотивов лампочки включают в схему питания электродвигателя, а на моделях вагонов для этого ставят колёса с металлическими бандажами и токосъёмники.

    Рис. 187. Система светопроводов в модели локомотива

    Заключительным и одним из самых ответственных моментов при постройке модели является окраска. Эта операция является очень важной, так как неумело наложенный слой краски зальёт острые кромки, скроет отдельные тонкости деталировки и лишит модель строгости очертаний. Подробное описание технологии покраски моделей, изготовление трафаретов и надписей приведено в главе X.




    Доставка сыпучих грузов заказать в воронеже.




    Главная | В избранное | Наш E-MAIL | Добавить материал | Нашёл ошибку | Вверх